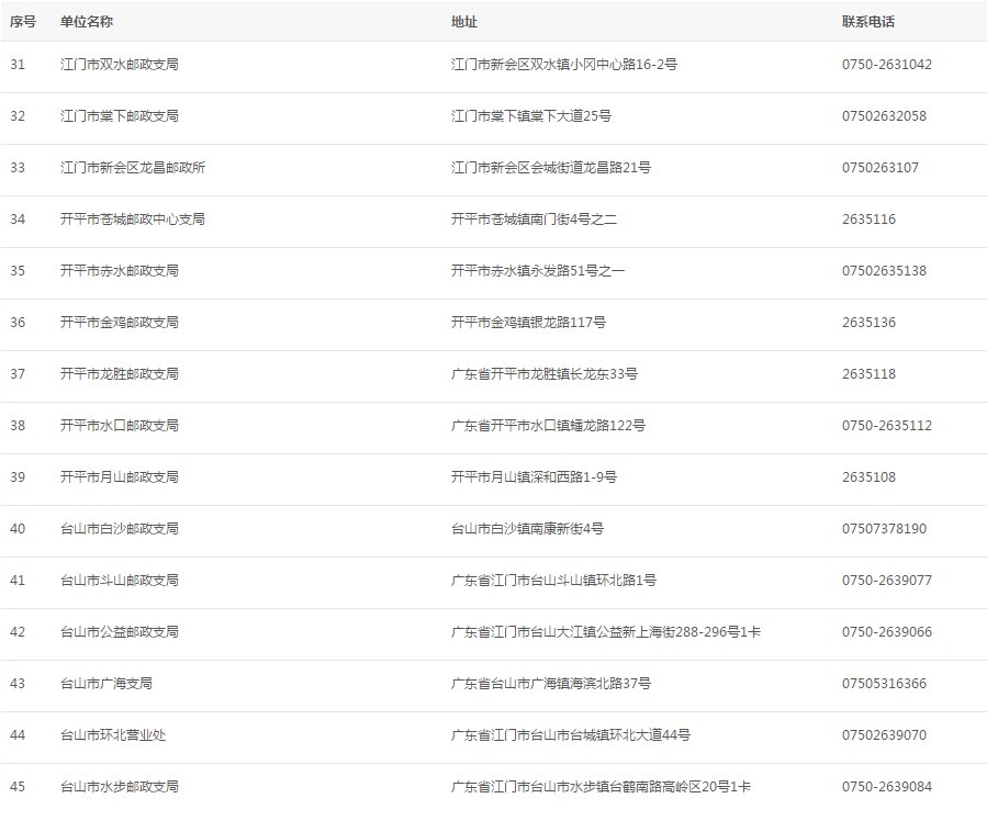
江门六年免检自助机地址 江门摩托车六年免检

江门六年免检自助机地址
办理材料:机动车行驶证原件。
办理时限:受理后当场办结,对于所提交的车辆、资料、凭证有嫌疑的进入调查程序(调查嫌疑车辆、资料、凭证的时间不计入机动车登记时限)。
网上申请入口:https://gab.122.gov.cn/m/login
注意:机动车“六年免检”不是“不检”,而是“六年免上线检验”。也就是说,6年免检的车主仍需按照相关规定到交管部门窗口领取免检合格标志。

江门六年免检自助机地址
办理材料:机动车行驶证原件。
办理时限:受理后当场办结,对于所提交的车辆、资料、凭证有嫌疑的进入调查程序(调查嫌疑车辆、资料、凭证的时间不计入机动车登记时限)。
网上申请入口:https://gab.122.gov.cn/m/login
注意:机动车“六年免检”不是“不检”,而是“六年免上线检验”。也就是说,6年免检的车主仍需按照相关规定到交管部门窗口领取免检合格标志。